发票(开具)
# 发票(开具)设置操作流程
概要: 查看/新增/编辑开具发票数据。
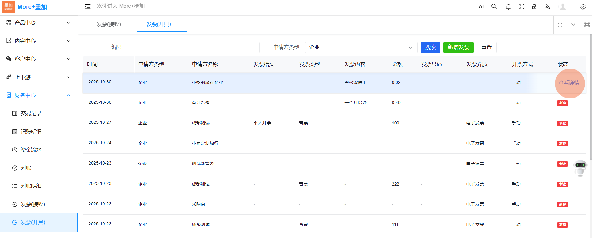
1. 点击:【财务中心-发票(开具)】可以查看所有开具发票数据,可通过申请方类型筛选。

企业收票

达人收票

客户收票
2. 点击:【查看详情】可以查看发票详情和编辑操作。

3. 点击:【开票详情】可以编辑设置发票类型、发票抬头、金额等操作。

4. 点击:【新增发票】可新增发票数据。

申请方类型说明:
企业:公司企业
达人 :分销人
客户 :购买人
订单类型说明:
社交分销:个人分享产生的订单
同业分销:通过同业分销产品资源的订单
同业采购:通过同业采购产品资源的订单
服务订单:通过服务派单的订单
产品/商品:产品订单
定制方案:方案订单
上次更新: 2025/11/24, 15:22:12